Möglicherweise verfügt Ihr Fahrzeug nicht über ein Ersatzrad. In diesem Fall finden Sie ein Reifenreparaturkit vor, mit dem Sie einen platten Reifen reparieren können.
Dieses Kit befindet sich in der Ersatzradmulde.
Allgemeine Informationen
ACHTUNG   ACHTUNG:  Je nach Art und Schwere des Schadens können einige Reifen nur teilweise oder gar nicht abgedichtet werden. Ein Verlust des Reifendrucks kann zu verschlechtertem Fahrverhalten und möglichem Verlust der Kontrolle über das Fahrzeug führen.
ACHTUNG   ACHTUNG:  Verwenden Sie das Reifenreparaturkit keinesfalls an einem zuvor bereits beschädigten Reifen, der z. B. mit ungenügend Druck gefahren wurde.
ACHTUNG   ACHTUNG:  Verwenden Sie das Reparaturkit nicht für Run-Flat-Reifen.
ACHTUNG   ACHTUNG:  Versuchen Sie nicht, Schäden an der Seitenwand des Reifens abzudichten.

Mit dem Reifen-Reparaturkit können die meisten Reifenschäden [mit einem Durchmesser von bis zu 6 mm] verschlossen werden, um die Mobilität kurzzeitig wiederherzustellen.
Bei der Verwendung des Kits müssen folgende Anweisungen beachtet werden:
  • Vorsichtig fahren und plötzliche Lenk- und Fahrmanöver vermeiden. Dies gilt insbesondere wenn das Fahrzeug stark beladen ist oder mit Anhänger gefahren wird.
  • Das System ermöglicht eine temporäre Notreparatur, so dass die Fahrt bis zum nächsten Fahrzeug- oder Reifenhändler fortgesetzt werden kann. Das Fahrzeug kann maximal 200 km gefahren werden.
  • Eine Höchstgeschwindigkeit von 80 km/h nicht überschreiten.
  • Kit außerhalb der Reichweite von Kindern aufbewahren.
  • Das Kit nur verwenden, wenn die Umgebungstemperatur zwischen -40 °C und +70 °C beträgt.
Verwendung des Reifenreparaturkits
ACHTUNG   ACHTUNG:  Druckluft kann explosiv oder als Treibstoff wirken.
ACHTUNG   ACHTUNG:  Lassen Sie das Reparaturkit während des Gebrauch niemals unbeaufsichtigt.

VORSICHT   VORSICHT:  Betreiben Sie den Kompressor nicht länger als 10 Minuten.

Beachte:   Verwenden Sie das Reparaturkit nur für das Fahrzeug, mit dem er ausgeliefert wurde.
  • Stellen Sie Ihr Fahrzeug am Straßenrand ab, so dass Sie den Verkehrsfluss nicht behindern und den Kit verwenden können, ohne sich dabei in Gefahr zu begeben.
  • Auch bei auf ebener Fläche stehendem Fahrzeug die Feststellbremse betätigen, um eine Fahrzeugbewegung auszuschließen.
  • Versuchen Sie nicht, die Fremdkörper im Profil (Nägel, Schrauben) zu entfernen.
  • Lassen Sie während des Gebrauchs des Reparaturkits den Motor laufen, falls sich das Fahrzeug nicht in einem geschlossenem oder schlecht belüfteten Raum (wie z. B. in einem Gebäude) befindet. Schalten Sie in diesem Fall den Kompressor bei ausgeschaltetem Motor ein.
  • Ersetzen Sie die Flasche mit dem Dichtmittel vor dessen Verfallsdatum (siehe Flasche oben).
  • Informieren Sie alle Betreiber des Fahrzeugs, dass der Reifen nur provisorisch mit dem Reparaturkit repariert wurde. Verweisen Sie auf die speziellen Fahrbedingungen, die einzuhalten sind.
Befüllen des Reifens mit Luft
ACHTUNG   ACHTUNG:  Prüfen Sie vor dem Befüllen mit Luft die Seitenwand des Reifens. Versuchen Sie nicht, den Reifen mit Luft zu befüllen, wenn die Seitenwand Risse, Ausbuchtungen oder ähnliches aufweist.
ACHTUNG   ACHTUNG:  Stehen Sie nicht direkt neben dem Reifen während der Kompressor arbeitet.
ACHTUNG   ACHTUNG:  Beobachten Sie die Seitenwand des Reifens. Falls Risse, Aufquellen oder andere Schäden sichtbar werden, den Kompressor ausschalten und die Luft über das Druckablassventil B ablassen. Das Fahrzeug darf mit diesem Reifen nicht gefahren werden.
ACHTUNG   ACHTUNG:  Das Dichtmittel enthält Naturkautschuk. Kontakt mit Haut und Kleidung vermeiden. Sollte dies trotzdem geschehen, spülen Sie die betreffenden Stellen sofort mit viel Wasser. Bei körperlichen Reaktionen einen Arzt aufsuchen.
ACHTUNG   ACHTUNG:  Beträgt der Reifenluftdruck innerhalb von 10 Minuten nicht 1,8 bar (26 psi), ist der Reifen möglicherweise zu stark beschädigt, so dass eine behelfsmäßige Reparatur nicht möglich ist. In diesem Fall mit diesem Reifen nicht weiterfahren.
ACHTUNG   ACHTUNG:  Durch das Aufschrauben der Flasche auf den Flaschenhalter wird das Siegel der Flasche durchstoßen. Schrauben Sie die Flasche nicht vom Halter ab, da hierbei Dichtmittel austritt.

Image Shown Without Description
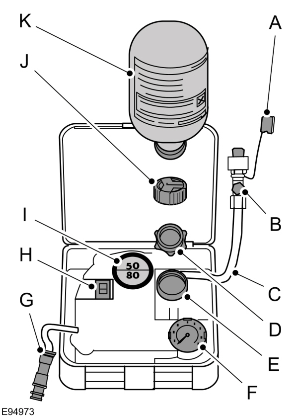
ASchutzkappe
BÜberdruckventil
CSchlauch
DOranger Deckel
EFlaschenhalter
FManometer
GStromkabel mit Stecker
HKompressorschalter
IAufkleber
JFlaschendeckel
KDichtmittelflasche
  1. Öffnen Sie den Deckel des Reifen-Reparaturkits.
  1. Ziehen Sie Aufkleber I mit der Angabe der Höchstgeschwindigkeit von 80 km/h vom Gehäuse ab und bringen Sie ihn im Sichtbereich des Fahrers am Armaturenbrett an. Stellen Sie sicher, dass durch den Aufkleber keine wichtigen Teile verdeckt werden.
  1. Nehmen Sie den Schlauch C und den Stromstecker mit dem Kabel G aus dem Kit.
  1. Schrauben Sie die orangefarbene Kappe D und den Flaschendeckel J ab.
  1. Schrauben Sie die Dichtmittelflasche K im Uhrzeigersinn fest in die Flaschenhalterung E.
  1. Die Ventilkappe von dem beschädigten Reifen abnehmen.
  1. Entfernen Sie Schutzkappe A von Schlauch C und schrauben Sie Schlauch C fest auf das Ventil des beschädigten Reifens.
  1. Stellen Sie sicher, dass sich der Kompressorschalter H in Position 0 befindet.
  1. Stecken Sie Stecker G in die Steckdose des Zigarettenanzünders oder in die Zusatzsteckdose. Siehe  Cigar Lighter . 
    Siehe  Auxiliary Power Points . 
  1. Motor starten.
  1. Stellen Sie den Kompressorschalter H auf Position 1.
  1. Reifen nicht länger als 10 Minuten auf einen Fülldruck von mindestens 1,8 bar (26 psi) und höchstens 3,5 bar (51 psi) befüllen. Stellen Sie den Kompressorschalter H auf 0 und prüfen Sie den aktuellen Reifendruck mit Manometer F.
Beachte:   Beim Pumpen des Dichtmittels durch das Reifenventil kann ein Druckanstieg auf bis zu 6 bar (87 psi) entstehen, der nach etwa 30 Sekunden jedoch sinkt.
Beachte:   Nach dem Ausschalten des Kompressors können Sie möglicherweise das Entweichen von Luft aus dem platten Reifen hören. Dies ist normal und kann ignoriert werden, vorausgesetzt, dass der vorgegebene Mindestreifendruck erreicht wurde.
  1. Ziehen Sie Stecker G aus der Steckdose des Zigarettenanzünders oder der Zusatzsteckdose heraus.
  1. Schrauben Sie Schlauch C schnell vom Reifenventil ab und setzen Sie Schutzkappe A auf. Ventilkappe wieder befestigen.
Beachte:   Etwas überschüssiges Dichtmittel kann beim Abziehen aus Schlauch C heraustropfen oder -spritzen. Das ist normal.
  1. Belassen Sie die Dichtmittelflasche K im Flaschenhalter E.
  1. Stellen Sie sicher, dass der Flaschendeckel und der orange Deckel sicher im Fahrzeug verstaut, jedoch weiterhin gut zugänglich sind. Der Kit wird erneut beim Prüfen des Reifenluftdrucks benötigt.
  1. Sofort ca. drei Kilometer (zwei Meilen) fahren, damit der beschädigte Bereich durch das Dichtmittel abgedichtet werden kann.
ACHTUNG   ACHTUNG:  Wenn während des Fahrens ungewöhnliche Vibrationen, Lenkunruhen oder Geräusche auftreten, verringern Sie die Geschwindigkeit und fahren Sie vorsichtig bis an eine Stelle, an der Sie gefahrlos anhalten können. Reifen und dessen Fülldruck erneut prüfen. Liegt der Reifenfülldruck unter 1,3 bar (19 psi) oder sind Risse, Beulen oder ähnliche Beschädigungen sichtbar, darf die Fahrt nicht fortgesetzt werden.

Reifenluftdruck prüfen.
  1. Nach ca. drei Kilometern (zwei Meilen) anhalten. Fülldruck des beschädigten Reifens prüfen und ggf. korrigieren.
  1. Bauen Sie den Kit an und lesen Sie den Reifendruck vom Manometer F ab.
  1. Liegt der Reifenfülldruck des befüllten Reifens bei 1,3 bar (19 psi) oder höher, muss der Reifenfülldruck auf den vorgegebenen Wert korrigiert werden. Siehe   . 
  1. Befolgen Sie die Anweisungen zum Befüllen erneut, um den Reifenluftdruck zu erhöhen.
  1. Prüfen Sie den Reifenluftdruck erneut mit Manometer F. Sollte der Reifenluftdruck zu hoch sein, vermindern Sie ihn mit dem Druckablassventil B.
  1. Nachdem Sie den Reifen auf den korrekten Fülldruck gebracht haben, den Kompressorschalter H auf 0 stellen, den Stecker G abziehen, den Schlauch C abschrauben, die Ventilkappe anbringen und die Schutzkappe A aufsetzen.
  1. Belassen Sie die Dichtmittelflasche K in Flaschenhalterung E und verstauen Sie den Kit an seiner ursprünglichen Position.
  1. Fahren Sie zur nächsten Werkstatt, um den defekten Reifen zu ersetzen. Informieren Sie Ihren Reifenhändler, bevor der Reifen von der Felge demontiert wird, dass der Reifen Dichtmittel enthält. Nach Gebrauch sollten Sie die Dichtmittelflasche K und Schlauch C so schnell wie möglich ersetzen.
Beachte:   Beachten Sie, dass das Reifenreparaturkit nur vorübergehendes Weiterfahren erlaubt. Die Vorschriften zur Reifenreparatur nach Verwendung des Reifen-Reparaturkits sind möglicherweise länderabhängig. Bei Fragen wenden Sie sich an einen Reifenspezialisten.
ACHTUNG   ACHTUNG:  Stellen Sie vor Fahrtantritt sicher, dass der Reifen auf den empfohlenen Reifenluftdruck befüllt wurde. Siehe   .  Überprüfen Sie den Reifenluftdruck bis der abgedichtete Reifen ersetzt wird.

Leere Dichtmittelflaschen können über den Hausmüll entsorgt werden. Dichtmittelreste bitte über Ihren Händler oder gemäß der örtlichen Müllbeseitigungsvorschrift entsorgen.

Feedback zur Betriebsanleitung

  • Bitte beachten Sie, dass Ford nicht auf individuelles Feedback reagieren wird.
  • Bitte geben Sie uns nur ein detailliertes Feedback über eventuelle Ungenauigkeiten im Inhalt oder fehlende Inhalte in der Betriebsanleitung.
  • Ihr Feedback wird geprüft und die notwendigen Änderungen werden in der Online-Betriebsanleitung aktualisiert. 
  • Bitte geben Sie kein fahrzeugbezogenes Feedback. Wenn Sie uns Feedback in Bezug auf Ihr Fahrzeug geben möchten, klicken Sie bitte auf den Link, um die richtigen Kontaktinformationen für Ihren Markt zu finden.
Kontaktinformationen anzeigen

Einreichen

Ihre Angaben sind wertvoll für die Verbesserung unserer Betriebsanleitung. Vielen Dank, dass Sie sich die Zeit nehmen, um Ihr Feedback zu geben.

OK

Contact Information

North America

CountryPhoneEmail
United States1-800-392-3673 (FORD)
Canada1-800-565-3673 (FORD)
Mexico1-800-719-8466
Guam1-800-392-3673 (FORD)
North Mariana Islandsapemcrc@ford.com
Puerto Rico(800) 841-3673prcac@ford.com
US Virgin Islands(800) 841-3673prcac@ford.com

IMG

CountryPhoneEmail
Algerianafcrc@ford.com
Angolassacrc@ford.com
Beninssacrc@ford.com
Botswanassacrc@ford.com
Burkina FASOssacrc@ford.com
Burundissacrc@ford.com
Cameroonssacrc@ford.com
Cape Verdessacrc@ford.com
Central African Republicssacrc@ford.com
Chadssacrc@ford.com
Comorosssacrc@ford.com
Dem Republic of Congossacrc@ford.com
Djibutissacrc@ford.com
Egyptnafcrc@ford.com
Equitorial Guineassacrc@ford.com
Eritreassacrc@ford.com
Ethiopiassacrc@ford.com
Gabonssacrc@ford.com
Gambiassacrc@ford.com
Ghanassacrc@ford.com
Guineassacrc@ford.com
Guinea-Bissaussacrc@ford.com
Ivory Coastssacrc@ford.com
Kenyassacrc@ford.com
Liberiassacrc@ford.com
Libyanafcrc@ford.com
Madagascarssacrc@ford.com
Malawissacrc@ford.com
Mauritaniassacrc@ford.com
Mauritiusssacrc@ford.com
Morocconafcrc@ford.com
Mozambiquessacrc@ford.com
Namibiassacrc@ford.com
Nigerssacrc@ford.com
Nigeriassacrc@ford.com
Republic of Congossacrc@ford.com
Rwandassacrc@ford.com
Sao Tome and Principessacrc@ford.com
Senegalssacrc@ford.com
Sychellesssacrc@ford.com
Sierra Leonessacrc@ford.com
South Africa860011022fordcrc2@ford.com
South Sudanssacrc@ford.com
Swazilandssacrc@ford.com
Tanzaniassacrc@ford.com
Togossacrc@ford.com
Tunisianafcrc@ford.com
Ugandassacrc@ford.com
Zambiassacrc@ford.com
Zimbabwessacrc@ford.com
American Somoaapemcrc@ford.com
Australia(13 FORD) 13 3673foacust1@ford.com
Bangladeshapemcrc@ford.com
Bhutanapemcrc@ford.com
Bruneiapemcrc@ford.com
Cambodiaapemcrc@ford.com
Fijiapemcrc@ford.com
French Polynesiaapemcrc@ford.com
Indiaapemcrc@ford.com
Indonesiaapemcrc@ford.com
Japanapemcrc@ford.com
Laosapemcrc@ford.com
Macaoapemcrc@ford.com
Malaysiaapemcrc@ford.com
Marshall Islandsapemcrc@ford.com
Mongoliaapemcrc@ford.com
Myanmarapemcrc@ford.com
Nepalapemcrc@ford.com
New Caledoniaapemcrc@ford.com
New Zealand0800 367 369 (FORDNZ)fnzcust@ford.com
Pakistanapemcrc@ford.com
Palauapemcrc@ford.com
Papua New Guineaapemcrc@ford.com
Philippines02-88669408emailus@ford.com
Singaporeapemcrc@ford.com
South Korea82-2-1600-6003infokr1@ford.com
Sri Lankaapemcrc@ford.com
Tahitiapemcrc@ford.com
Thailand1383fordthai@ford.com
Timor Lesteapemcrc@ford.com
Vanuatuapemcrc@ford.com
Vietnam1800588888fordvn@ford.com
Wallis and Futunaapemcrc@ford.com
Western Somoaapemcrc@ford.com
Afghanistanmenacac@ford.com
Bahrainmenacac@ford.com
Iraqmenacac@ford.com
Israel08-9139995service1@kelekmotors.co.il
Jordanmenacac@ford.com
Kuwait965 1 898900menacac@ford.com
Lebanonmenacac@ford.com
Omanmenacac@ford.com
Qatarmenacac@ford.com
Saudi Arabia8008443673menacac@ford.com
Syriamenacac@ford.com
United Arab Emirates80004441066menacac@ford.com
Yemenmenacac@ford.com

Greater China

CountryPhoneEmail
China-Imported Vehicles400-690-1886
China-CAF951995
China-JMC400-003-1111
China-Lincoln400-988-6789
Taiwan0800-032100
Hong Kong(852) 3768-4898

South America

CountryPhoneEmail
Argentina0800-888-3673
BoliviaContact Your Local Ford Distributor
Brazil0800-703-3673central@ford.com
ChileContact Your Local Ford Distributor
ColombiaContact Your Local Ford Distributor
EcuadorContact Your Local Ford Distributor
French GuianaContact Your Local Ford Distributor
GuyanaContact Your Local Ford Distributor
ParaguayContact Your Local Ford Distributor
PeruContact Your Local Ford Distributor
SurinameContact Your Local Ford Distributor
UruguayContact Your Local Ford Distributor
VenezuelaContact Your Local Ford Distributor

Europe

CountryPhoneEmail
AlbaniaContact Your Local Ford Distributor
AndorraContact Your Local Ford Distributor
ArmeniaContact Your Local Ford Distributor
Austria01 20 609 2424kundenz@ford.com
AzerbaijanContact Your Local Ford Distributor
BelarusContact Your Local Ford Distributor
Belgium32 2 700 67 76custfobe@ford.com
BosniaContact Your Local Ford Distributor
BulgariaContact Your Local Ford Distributor
CroatiaContact Your Local Ford Distributor
CyprusContact Your Local Ford Distributor
Czech Republic800 3673 29zakaznik@ford.com
Denmark43 68 2000crcdk@ford.com
Estonia372 6710 060ford@infoauto.ee
Falkland IslandsContact Your Local Ford Distributor
Finland09 725 22022palvelut@ford.com
France0800 005 005 crcfr@ford.com
GeorgiaContact Your Local Ford Distributor
Germany0221 9999 2 999kunden@ford.com
GirbraltarContact Your Local Ford Distributor
Greece216 900 88 99 info11@ford.com
Hungary+36 1 7777 555Contact Your Local Ford Distributor
IcelandContact Your Local Ford Distributor
Ireland1800 771 199crcirela@ford.com
Italy800 22 44 33tu@ford.com
KazakhstanContact Your Local Ford Distributor
Latvia+371 67303020
LiechtensteinContact Your Local Ford Distributor
Lithuania370 5216 8226forduzklausos@inchcape.lt
Luxembourg+352 248 71 800custfobe@ford.com
MacedoniaContact Your Local Ford Distributor
MaltaContact Your Local Ford Distributor
MoldovaContact Your Local Ford Distributor
MonacoContact Your Local Ford Distributor
MontenegroContact Your Local Ford Distributor
Netherlands70 7703 777 klanten@ford.com
Norway47 66819739infonor@ford.com
Poland48 22 522 27 27kontakty@ford.com
Portugal800 210 373clientes@ford.com
Romania40 312298798crcro@ford.com
RussiaContact Your Local Ford Distributor
San MarinoContact Your Local Ford Distributor
SerbiaContact Your Local Ford Distributor
Serbia and MontenegroContact Your Local Ford Distributor
SlovakiaContact Your Local Ford Distributor
SloveniaContact Your Local Ford Distributor
South GeorgiaContact Your Local Ford Distributor
Spain900 80 70 90crcspain@ford.com
Sweden08-593 66 333fordkund@ford.com
Switzerland044 511 14 45assistch@ford.com
TurkeyContact Your Local Ford Distributor
UkraineContact Your Local Ford Distributor
United Kingdom020 3564 4444UKCRC1@ford.com

Caribbean and Central America

CountryPhoneEmail
Anguilla(313) 594-4857expcac@ford.com
Antigua(313) 594-4857expcac@ford.com
Aruba(313) 594-4857expcac@ford.com
Bahamas(313) 594-4857expcac@ford.com
Barbados(313) 594-4857expcac@ford.com
Bermuda(313) 594-4857expcac@ford.com
Bonaire and St. Eustatius(313) 594-4857expcac@ford.com
Cayman Islands(313) 594-4857expcac@ford.com
Curacao(313) 594-4857expcac@ford.com
Dominica(313) 594-4857expcac@ford.com
Dominican Republic(313) 594-4857expcac@ford.com
Grenada(313) 594-4857expcac@ford.com
Haiti(313) 594-4857expcac@ford.com
Jamaica(313) 594-4857expcac@ford.com
Martinique(313) 594-4857expcac@ford.com
Montserrat(313) 594-4857expcac@ford.com
St. Kitts and Nevis(313) 594-4857expcac@ford.com
St. Lucia(313) 594-4857expcac@ford.com
St. Martin(313) 594-4857expcac@ford.com
St. Vincent and the Grenadines(313) 594-4857expcac@ford.com
Trinidad and Tobago(313) 594-4857expcac@ford.com
Turks and Caicos(313) 594-4857expcac@ford.com
British Virgin Islands(313) 594-4857expcac@ford.com
Netherlands Antilles(313) 594-4857expcac@ford.com
Belize(313) 594-4857expcac@ford.com
Costa Rica(313) 594-4857expcac@ford.com
El Salvador(313) 594-4857expcac@ford.com
Guatemala(313) 594-4857expcac@ford.com
Honduras(313) 594-4857expcac@ford.com
Nicaragua(313) 594-4857expcac@ford.com
Panama(313) 594-4857expcac@ford.com