Your vehicle may not have a spare tire. Therefore you will have a temporary mobility kit which will only repair one damaged tire.
The kit is located in the spare wheel well.
General Information
WARNING   WARNING:  Depending on the type and extent of tire damage, some tires can only be partially sealed or not sealed at all. Loss of tire pressure can affect vehicle handling, leading to loss of vehicle control.
WARNING   WARNING:  Do not use the kit on a previously damaged tire, for example when it has been driven under inflated. This could cause loss of vehicle control, personal injury or death.
WARNING   WARNING:  Do not use the inflator kit on run flat tires. This could cause loss of vehicle control.
WARNING   WARNING:  Do not try to seal damage to the tire sidewall. The tire could burst and cause loss of vehicle control, personal injury or death.

The kit seals most tire punctures with a diameter of up to 6 mm (0.24 in) to temporarily restore mobility.
You must observe the following rules when using the kit:
  • Drive with caution and avoid making sudden steering or driving maneuvers, especially if your vehicle is heavily laden or you are towing a trailer.
  • The kit will provide you with an emergency temporary repair, enabling you to continue your journey to the next vehicle or tire dealer, or to drive a maximum distance of 200 km (125 mi).
  • Do not exceed a maximum speed of 80 km/h (50 mph).
  • Keep the kit out of the reach of children.
  • Only use the kit when the ambient temperature is between -40–70 °C (-40–158 °F).
Using the Kit
WARNING   WARNING:  Compressed air can act as an explosive or propellant which could cause serious personal injury.
WARNING   WARNING:  Do not leave the kit unattended when it is in use. Failure to follow this instruction could result in personal injury or death.
WARNING   WARNING:  Do not keep the compressor operating for more than 10 minutes. This could cause the compressor to malfunction causing serious personal injury.

Only use the temporary mobility kit supplied with your vehicle. Failure to use the correct kit could result in your tires not inflating.
  • Park your vehicle at the roadside so that you do not obstruct the flow of traffic and so that you are able to use the kit without being in danger.
  • Apply the parking brake, even if you have parked on a level road, to make sure that your vehicle will not move.
  • Do not attempt to remove foreign objects like nails or screws penetrating the tire.
  • Leave the engine running while the kit is in use, but not if your vehicle is in an enclosed or poorly ventilated area (e.g, inside a building). In these circumstances, switch the compressor on with the engine switched off.
  • You must replace the sealant bottle with a new one before the expiry date (see top of bottle).
  • Inform all other users of your vehicle that the tire has been temporarily sealed with the kit. Make them aware of the special driving conditions that must be observed.
Inflating the Tire
WARNING   WARNING:  Check the sidewall of the tire prior to inflation. If there are any cracks, bumps or similar damage, do not attempt to inflate the tire. This could cause personal injury.
WARNING   WARNING:  Do not stand directly beside the tire while the compressor is operating. This could cause personal injury if the tire bursts.
WARNING   WARNING:  Watch the sidewall of the tire when inflating. If any cracks, bumps or similar damage appears, switch the compressor off and let the air out by means of the pressure relief valve. Do not continue driving with this tire. This could cause loss of vehicle control.
WARNING   WARNING:  The sealant contains natural rubber latex. Avoid contact with skin and clothing. If this happens, rinse the affected areas immediately with plenty of water and consult a physician.
WARNING   WARNING:  If the tire inflation pressure does not reach 1.8 bar (26.1 psi) within 10 minutes, the tire may have suffered excessive damage, making a temporary repair impossible. In this case, do not continue driving with this tire. This could cause loss of vehicle control.

Image Shown Without Description
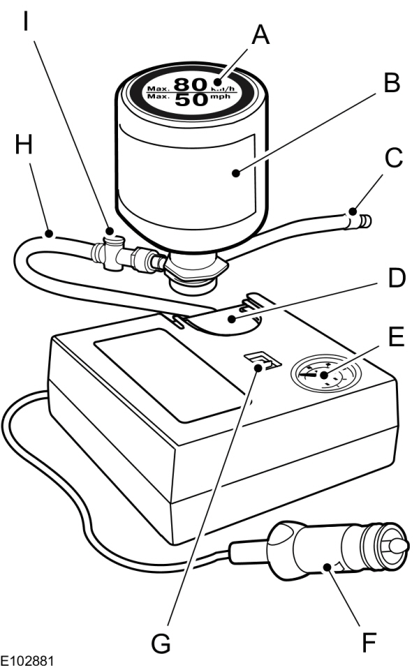
ALabel
BSealant bottle
CSealant bottle hose
DBottle holder
EPressure gauge
FPower plug with cable
GCompressor switch
HRepair kit hose
IPressure relief valve
  1. Remove the kit from the wrapping.
  1. Peel off the label A showing the maximum permissible speed of 80 km/h (50 mph) from the sealant bottle and attach it to the instrument panel in the driver’s field of view. Make sure the label does not obscure anything important.
  1. Take the hose H with the pressure relief valve I and the power plug with cable F out of the kit.
  1. Connect the hose H with the pressure relief valve I to the sealant bottle B.
  1. Engage the sealant bottle B into the bottle holder D.
  1. Remove the valve cap from the damaged tire.
  1. Screw the sealant bottle hose C firmly onto the valve of the damaged tire.
  1. Make sure that the compressor switch G is in position 0.
  1. Insert the power plug F into the cigar lighter socket or auxiliary power socket.   See   Auxiliary Power Points
      See   Cigar Lighter
  1. Start the engine.
  1. Move the compressor switch G to position 1.
  1. Inflate the tire for no longer than 10 minutes to an inflation pressure of minimum 1.8 bar (26 psi) and a maximum of 3.5 bar (51 psi). Move the compressor switch G to position 0 and check the current tire pressure with pressure gauge E.
Note:   If a tire pressure of 1.8 bar (26 psi) is not reached do not continue.
Note:   When pumping in the sealant through the tire valve, the pressure may rise up to 6 bar (87 psi) but will drop again after about 30 seconds.
Note:   After you have switched the compressor off, you may hear air escaping from the damaged tire. This is normal and can be ignored provided that the specified minimum tire pressure has been reached.
  1. Remove the power plug F from the cigar lighter socket or auxiliary power socket.
  1. Quickly unscrew the hose C from the tire valve. Fasten the valve cap again.
Note:   Some residual sealant fluid may drip or spray out of hose C while you are disconnecting it. This is normal.
  1. Leave the sealant bottle B in the bottle holder D.
  1. Make sure the kit is stored safely, but still easily accessible in your vehicle. The kit will be required again when you check the tire pressure.
  1. Immediately drive approximately 3 km (2 mi) so that the sealant can seal the damaged area.
WARNING   WARNING:  If you experience heavy vibrations, unsteady steering behavior or noises while driving, reduce your speed gradually and stop your vehicle as soon as it is safe to do so. Recheck the tire and its pressure. If the tire pressure is less than 1.3 bar (18.9 psi) or if there are any cracks, bumps or similar damage visible, do not continue driving with this tire. This could cause loss of vehicle control.

  1. Stop your vehicle after driving approximately two miles (three kilometers). Check, and where necessary, adjust the pressure of the damaged tire.
  1. Attach the kit and read the tire pressure from the pressure gauge E.
  1. Adjust it to the specified pressure.   See   Technical Specifications
  1. Once you have inflated the tire to its correct tire pressure, move the compressor switch G to position 0, remove the power plug F from the socket, unscrew the hose C and fasten the valve cap.
  1. Leave hose C and H connected to the sealant bottle B and store the kit away safely.
  1. Go to the nearest tire specialist to get the damaged tire replaced. Before the tire is removed from the rim, inform your tire dealer that the tire contains sealant. You must renew the sealant bottle B and hose C as soon as possible once used.
Note:   Remember that the kit only provides temporary mobility. Regulations concerning tire repair after using the kit may differ from country to country. You should consult a tire specialist for advice.
WARNING   WARNING:  Before driving, make sure the tire is adjusted to the recommended inflation pressure. Monitor the tire pressure until the sealed tire is replaced.

Empty sealant bottles can be disposed of together with normal household waste. Return remains of sealant to an authorized dealer or dispose of it in compliance with local waste disposal regulations.

Owner's Manual Feedback

  • Please note that Ford will not respond to individual feedback.
  • Please only provide detailed feedback regarding any inaccuracies in the content or any missing content in the Owner's Manual.
  • Your feedback will be investigated and any necessary changes will be updated in the online Owner's Manual. 
  • Please do not submit any vehicle related feedback. To submit feedback related to your vehicle, please click the link to find the correct contact information for your market.
View Contact Information

Submit

Your input is valuable in helping us improve our Owner's Manual. Thank you for taking the time to provide your feedback.

Ok

Contact Information

North America

CountryPhoneEmail
United States1-800-392-3673 (FORD)
Canada1-800-565-3673 (FORD)
Mexico1-800-719-8466
Guam1-800-392-3673 (FORD)
North Mariana Islandsapemcrc@ford.com
Puerto Rico(800) 841-3673prcac@ford.com
US Virgin Islands(800) 841-3673prcac@ford.com

IMG

CountryPhoneEmail
Algerianafcrc@ford.com
Angolassacrc@ford.com
Beninssacrc@ford.com
Botswanassacrc@ford.com
Burkina FASOssacrc@ford.com
Burundissacrc@ford.com
Cameroonssacrc@ford.com
Cape Verdessacrc@ford.com
Central African Republicssacrc@ford.com
Chadssacrc@ford.com
Comorosssacrc@ford.com
Dem Republic of Congossacrc@ford.com
Djibutissacrc@ford.com
Egyptnafcrc@ford.com
Equitorial Guineassacrc@ford.com
Eritreassacrc@ford.com
Ethiopiassacrc@ford.com
Gabonssacrc@ford.com
Gambiassacrc@ford.com
Ghanassacrc@ford.com
Guineassacrc@ford.com
Guinea-Bissaussacrc@ford.com
Ivory Coastssacrc@ford.com
Kenyassacrc@ford.com
Liberiassacrc@ford.com
Libyanafcrc@ford.com
Madagascarssacrc@ford.com
Malawissacrc@ford.com
Mauritaniassacrc@ford.com
Mauritiusssacrc@ford.com
Morocconafcrc@ford.com
Mozambiquessacrc@ford.com
Namibiassacrc@ford.com
Nigerssacrc@ford.com
Nigeriassacrc@ford.com
Republic of Congossacrc@ford.com
Rwandassacrc@ford.com
Sao Tome and Principessacrc@ford.com
Senegalssacrc@ford.com
Sychellesssacrc@ford.com
Sierra Leonessacrc@ford.com
South Africa860011022fordcrc2@ford.com
South Sudanssacrc@ford.com
Swazilandssacrc@ford.com
Tanzaniassacrc@ford.com
Togossacrc@ford.com
Tunisianafcrc@ford.com
Ugandassacrc@ford.com
Zambiassacrc@ford.com
Zimbabwessacrc@ford.com
American Somoaapemcrc@ford.com
Australia(13 FORD) 13 3673foacust1@ford.com
Bangladeshapemcrc@ford.com
Bhutanapemcrc@ford.com
Bruneiapemcrc@ford.com
Cambodiaapemcrc@ford.com
Fijiapemcrc@ford.com
French Polynesiaapemcrc@ford.com
Indiaapemcrc@ford.com
Indonesiaapemcrc@ford.com
Japanapemcrc@ford.com
Laosapemcrc@ford.com
Macaoapemcrc@ford.com
Malaysiaapemcrc@ford.com
Marshall Islandsapemcrc@ford.com
Mongoliaapemcrc@ford.com
Myanmarapemcrc@ford.com
Nepalapemcrc@ford.com
New Caledoniaapemcrc@ford.com
New Zealand0800 367 369 (FORDNZ)fnzcust@ford.com
Pakistanapemcrc@ford.com
Palauapemcrc@ford.com
Papua New Guineaapemcrc@ford.com
Philippines02-88669408emailus@ford.com
Singaporeapemcrc@ford.com
South Korea82-2-1600-6003infokr1@ford.com
Sri Lankaapemcrc@ford.com
Tahitiapemcrc@ford.com
Thailand1383fordthai@ford.com
Timor Lesteapemcrc@ford.com
Vanuatuapemcrc@ford.com
Vietnam1800588888fordvn@ford.com
Wallis and Futunaapemcrc@ford.com
Western Somoaapemcrc@ford.com
Afghanistanmenacac@ford.com
Bahrainmenacac@ford.com
Iraqmenacac@ford.com
Israel08-9139995service1@kelekmotors.co.il
Jordanmenacac@ford.com
Kuwait965 1 898900menacac@ford.com
Lebanonmenacac@ford.com
Omanmenacac@ford.com
Qatarmenacac@ford.com
Saudi Arabia8008443673menacac@ford.com
Syriamenacac@ford.com
United Arab Emirates80004441066menacac@ford.com
Yemenmenacac@ford.com

Greater China

CountryPhoneEmail
China-Imported Vehicles400-690-1886
China-CAF951995
China-JMC400-003-1111
China-Lincoln400-988-6789
Taiwan0800-032100
Hong Kong(852) 3768-4898

South America

CountryPhoneEmail
Argentina0800-888-3673
BoliviaContact Your Local Ford Distributor
Brazil0800-703-3673central@ford.com
ChileContact Your Local Ford Distributor
ColombiaContact Your Local Ford Distributor
EcuadorContact Your Local Ford Distributor
French GuianaContact Your Local Ford Distributor
GuyanaContact Your Local Ford Distributor
ParaguayContact Your Local Ford Distributor
PeruContact Your Local Ford Distributor
SurinameContact Your Local Ford Distributor
UruguayContact Your Local Ford Distributor
VenezuelaContact Your Local Ford Distributor

Europe

CountryPhoneEmail
AlbaniaContact Your Local Ford Distributor
AndorraContact Your Local Ford Distributor
ArmeniaContact Your Local Ford Distributor
Austria01 20 609 2424kundenz@ford.com
AzerbaijanContact Your Local Ford Distributor
BelarusContact Your Local Ford Distributor
Belgium32 2 700 67 76custfobe@ford.com
BosniaContact Your Local Ford Distributor
BulgariaContact Your Local Ford Distributor
CroatiaContact Your Local Ford Distributor
CyprusContact Your Local Ford Distributor
Czech Republic800 3673 29zakaznik@ford.com
Denmark43 68 2000crcdk@ford.com
Estonia372 6710 060ford@infoauto.ee
Falkland IslandsContact Your Local Ford Distributor
Finland09 725 22022palvelut@ford.com
France0800 005 005 crcfr@ford.com
GeorgiaContact Your Local Ford Distributor
Germany0221 9999 2 999kunden@ford.com
GirbraltarContact Your Local Ford Distributor
Greece216 900 88 99 info11@ford.com
Hungary+36 1 7777 555Contact Your Local Ford Distributor
IcelandContact Your Local Ford Distributor
Ireland1800 771 199crcirela@ford.com
Italy800 22 44 33tu@ford.com
KazakhstanContact Your Local Ford Distributor
Latvia+371 67303020
LiechtensteinContact Your Local Ford Distributor
Lithuania370 5216 8226forduzklausos@inchcape.lt
Luxembourg+352 248 71 800custfobe@ford.com
MacedoniaContact Your Local Ford Distributor
MaltaContact Your Local Ford Distributor
MoldovaContact Your Local Ford Distributor
MonacoContact Your Local Ford Distributor
MontenegroContact Your Local Ford Distributor
Netherlands70 7703 777 klanten@ford.com
Norway47 66819739infonor@ford.com
Poland48 22 522 27 27kontakty@ford.com
Portugal800 210 373clientes@ford.com
Romania40 312298798crcro@ford.com
RussiaContact Your Local Ford Distributor
San MarinoContact Your Local Ford Distributor
SerbiaContact Your Local Ford Distributor
Serbia and MontenegroContact Your Local Ford Distributor
SlovakiaContact Your Local Ford Distributor
SloveniaContact Your Local Ford Distributor
South GeorgiaContact Your Local Ford Distributor
Spain900 80 70 90crcspain@ford.com
Sweden08-593 66 333fordkund@ford.com
Switzerland044 511 14 45assistch@ford.com
TurkeyContact Your Local Ford Distributor
UkraineContact Your Local Ford Distributor
United Kingdom020 3564 4444UKCRC1@ford.com

Caribbean and Central America

CountryPhoneEmail
Anguilla(313) 594-4857expcac@ford.com
Antigua(313) 594-4857expcac@ford.com
Aruba(313) 594-4857expcac@ford.com
Bahamas(313) 594-4857expcac@ford.com
Barbados(313) 594-4857expcac@ford.com
Bermuda(313) 594-4857expcac@ford.com
Bonaire and St. Eustatius(313) 594-4857expcac@ford.com
Cayman Islands(313) 594-4857expcac@ford.com
Curacao(313) 594-4857expcac@ford.com
Dominica(313) 594-4857expcac@ford.com
Dominican Republic(313) 594-4857expcac@ford.com
Grenada(313) 594-4857expcac@ford.com
Haiti(313) 594-4857expcac@ford.com
Jamaica(313) 594-4857expcac@ford.com
Martinique(313) 594-4857expcac@ford.com
Montserrat(313) 594-4857expcac@ford.com
St. Kitts and Nevis(313) 594-4857expcac@ford.com
St. Lucia(313) 594-4857expcac@ford.com
St. Martin(313) 594-4857expcac@ford.com
St. Vincent and the Grenadines(313) 594-4857expcac@ford.com
Trinidad and Tobago(313) 594-4857expcac@ford.com
Turks and Caicos(313) 594-4857expcac@ford.com
British Virgin Islands(313) 594-4857expcac@ford.com
Netherlands Antilles(313) 594-4857expcac@ford.com
Belize(313) 594-4857expcac@ford.com
Costa Rica(313) 594-4857expcac@ford.com
El Salvador(313) 594-4857expcac@ford.com
Guatemala(313) 594-4857expcac@ford.com
Honduras(313) 594-4857expcac@ford.com
Nicaragua(313) 594-4857expcac@ford.com
Panama(313) 594-4857expcac@ford.com