OSTRZEŻENIE   OSTRZEŻENIE:  Nie stosuj zestawu do pompowania w przypadku opon umożliwiających jazdę bez powietrza. Mogłoby to spowodować utratę kontroli nad pojazdem.
OSTRZEŻENIE   OSTRZEŻENIE:  W zależności od rodzaju i rozmiarów uszkodzenia, w niektórych oponach można dokonać tylko częściowego uszczelnienia lub może okazać się to niemożliwe. Utrata ciśnienia w oponie może wpłynąć na prowadzenie samochodu i doprowadzić do utraty panowania nad pojazdem.
OSTRZEŻENIE   OSTRZEŻENIE:  Nie stosuj zestawu, jeżeli opona została już uszkodzona, np. w wyniku niedopompowania podczas jazdy. Mogłoby to spowodować utratę kontroli nad pojazdem, obrażenia lub śmierć.

Wskazówka:   W przypadku właścicieli pojazdów kempingowych mogą obowiązywać oddzielne instrukcje dołączone do zestawu do tymczasowych napraw opon.
Jeżeli Twój pojazd nie jest wyposażony w koło zapasowe, znajduje się w nim zestaw do pompowania i uszczelniania opon. Zestaw znajduje się w progu drzwi po prawej stronie. Używaj wyłącznie zestawu dostarczonego z pojazdem.
Wskazówka:   Zestaw służy do tymczasowego naprawienia jednego przebicia opony o średnicy maksymalnie do 0,24 cala (6 mm).
Image Shown Without Description
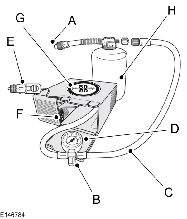
AZatyczka ochronna
BZawór upustu ciśnienia
CPrzewód giętki
DCiśnieniomierz
EWtyczka zasilania z przewodem
FPrzełącznik sprężarki
GNalepka
HPojemnik środka uszczelniającego
Wskazówka:   Regularnie sprawdzaj datę ważności na pojemniku środka uszczelniającego.
Image Shown Without Description  Jeżeli zapala się lampka ostrzegawcza niskiego ciśnienia powietrza w oponach, wykonaj następujące czynności:
  1. Stopniowo zmniejsz prędkość i zatrzymaj pojazd, gdy tylko będzie to możliwe w bezpieczny sposób.
  1. Włącz hamulec postojowy i wyłącz zapłon.
  1. Sprawdź opony pod kątem przebicia.
Wskazówka:   Nie usuwaj ciał obcych, takich jak gwoździe lub śruby, z przebitej opony.
Korzystanie z zestawu do pompowania i uszczelniania opon
OSTRZEŻENIE   OSTRZEŻENIE:  Przed napompowaniem sprawdź ścianę boczną opony. Jeżeli widać jakiekolwiek pęknięcia, wybrzuszenia lub podobne uszkodzenia, nie próbuj pompować opony. Mogłoby to spowodować obrażenia.
OSTRZEŻENIE   OSTRZEŻENIE:  Podczas pompowania obserwuj ścianę boczną opony. Jeżeli pojawią się jakiekolwiek pęknięcia, wybrzuszenia lub podobne uszkodzenia, wyłącz sprężarkę i wypuść powietrze za pomocą zaworu upustu ciśnienia. Nie kontynuuj jazdy z tą oponą. Mogłoby to spowodować utratę kontroli nad pojazdem.
OSTRZEŻENIE   OSTRZEŻENIE:  Nie stój w bezpośredniej bliskości opony, gdy sprężarka pracuje. Mogłoby to spowodować obrażenia, gdyby opona została rozerwana.
OSTRZEŻENIE   OSTRZEŻENIE:  Nigdy nie pozostawiaj zestawu bez dozoru podczas użycia. Niezastosowanie się do tej instrukcji może spowodować obrażenia ciała lub śmierć.
OSTRZEŻENIE   OSTRZEŻENIE:  Nie pozwalaj, aby sprężarka pracowała dłużej niż 10 minut. Może to spowodować awarię turbosprężarki, skutkującą poważnymi obrażeniami ciała.
OSTRZEŻENIE   OSTRZEŻENIE:  Środek uszczelniający zawiera lateks naturalny. Unikaj kontaktu ze skórą i ubraniem. W razie kontaktu natychmiast przemyj to miejsce dużą ilością wody i skontaktuj się z lekarzem.

  1. Otwórz pokrywę zestawu do pompowania i uszczelniania opon.
  1. Zdejmij nalepkę G z informacją o maksymalnej dopuszczalnej prędkości 50 mil/godz. (80 km/godz.) z obudowy i przymocuj do tablicy rozdzielczej w polu widzenia kierowcy. Upewnij się, że nalepka nie zasłania żadnego ważnego elementu.
  1. Wyjmij przewód giętki C oraz wtyczkę zasilania z przewodem E z zestawu do tymczasowych napraw opon.
  1. Przykręć przewód giętki C do pojemnika środka uszczelniającego.
  1. Zdejmij pokrywkę zaworu z uszkodzonej opony.
  1. Wyjmij zatyczkę ochronną A z przewodu giętkiego pojemnika środka uszczelniającego i przykręć przewód giętki mocno do zaworu uszkodzonej opony.
  1. Upewnij się, że przełącznik sprężarki F jest w położeniu 0.
  1. Wsuń wtyczkę zasilania E do dodatkowego gniazda zasilania.   Patrz   Dodatkowe gniazda zasilania
  1. Uruchom silnik.
  1. Przesuń przełącznik sprężarki F do położenia 1.
  1. Po co najmniej dwóch minutach przesuń przełącznik sprężarki F do położenia 0 i odkręć przewód giętki C od pojemnika środka uszczelniającego. Odkręć przewód giętki pojemnika środka uszczelniającego od zaworu opony.
  1. Przykręć przewód giętki C do zaworu opony i przesuń przełącznik sprężarki F do położenia 1.
  1. Pompuj oponę do uzyskania zalecanej wartości ciśnienia, ale nie korzystaj z zestawu do pompowania dłużej niż przez 10 minut. Przesuń przełącznik sprężarki F do położenia 0 i sprawdź aktualne ciśnienie powietrza w oponie za pomocą ciśnieniomierza D. Odkręć przewód giętki C od zaworu opony.
  1. Wyjmij wtyczkę zasilania E z dodatkowego gniazda zasilania.
  1. Upewnij się, że zestaw do pompowania i uszczelniania opon, pokrywa butli i pomarańczowa pokrywka są przechowywane w bezpieczny sposób w pojeździe, ale są też łatwo dostępne. Zestaw do pompowania i uszczelniania opon będzie znów potrzebny, gdy będziesz sprawdzać ciśnienie powietrza w oponie.
  1. Niezwłocznie przejedź około 6 mil (10 km), aby środek uszczelniający mógł uszczelnić uszkodzone miejsce.
Wskazówka:   Podczas pompowania środka uszczelniającego przez zawór opony ciśnienie może wzrosnąć do 87 psi (6 barów), ale spadnie ponownie po około 30 sekundach.
Wskazówka:   Jeżeli ciśnienie powietrza w oponie spadło do wartości 26 psi (1,8 bara) lub niższej, oznacza to, że opona mogła zostać uszkodzona w stopniu uniemożliwiającym jej tymczasową naprawę. Należy niezwłocznie zlecić sprawdzenie pojazdu. Nie prowadź pojazdu.
Wskazówka:   Jeżeli ciśnienie powietrza w oponie spadło, ale wciąż jest wyższe niż 26 psi (1,8 bara), użyj zestawu, aby ponownie napompować oponę.
Po użyciu zestawu do pompowania i uszczelniania opon
OSTRZEŻENIE   OSTRZEŻENIE:  Jeśli doświadczysz nietypowych drgań, zakłóceń lub hałasu podczas jazdy, zmniejsz prędkość, aby bezpiecznie zatrzymać się na poboczu i wezwać pomoc drogową. Niezastosowanie się do tego zalecenia mogłoby spowodować utratę kontroli nad pojazdem i zwiększyć ryzyko odniesienia obrażeń lub śmierci.

  1. Zatrzymaj pojazd po przejechaniu około 6 mil (10 km). Sprawdź i w razie potrzeby wyreguluj ciśnienie powietrza w uszkodzonej oponie.
  1. Zamocuj zestaw do pompowania i uszczelniania opon, a następnie sprawdź ciśnienie powietrza w oponie na ciśnieniomierzu D.
  1. Jeśli ciśnienie powietrza w oponie jest zbyt wysokie, obniż ciśnienie do zalecanej wartości za pomocą zaworu upustu ciśnienia B. Jeśli ciśnienie powietrza w oponie jest niższe niż zalecane, powtórz czynności od 13 do 16 i czynności od 1 do 2 (Sprawdzanie ciśnienia powietrza w oponie).   Patrz   Ciśnienie powietrza w oponach - Van
      Patrz   Ciśnienie powietrza w oponach - Van
  1. Po napompowaniu opony do prawidłowej wartości ciśnienia przesuń przełącznik sprężarki F do położenia 0, wyjmij wtyczkę zasilania E z dodatkowego gniazda zasilania, odkręć przewód giętki pojemnika środka uszczelniającego, zamocuj pokrywkę zaworu i załóż ponownie zatyczkę ochronną A.
  1. Przejedź do najbliższego zakładu wulkanizacyjnego w celu wymiany uszkodzonej opony. Zanim opona zostanie zdjęta z koła, poinformuj mechanika, że zawiera ona środek uszczelniający. Po użyciu jak najszybciej wymień pojemnik środka uszczelniającego na nowy.
Wskazówka:   Zestaw do tymczasowych napraw opon służy wyłącznie do napraw w sytuacjach awaryjnych. Przepisy dotyczące naprawy opony po zastosowaniu zestawu do tymczasowych napraw opon mogą różnić się zależnie od kraju. W celu uzyskania informacji powinieneś skonsultować się ze specjalistą.

Uwagi dotyczące Instrukcji obsługi

  • Firma Ford nie odpowiada na indywidualne zgłoszenia.
  • Prosimy podać szczegółową informację zwrotną dotyczącą wszelkich niedokładności w treści lub brakujących treści w Instrukcji obsługi.
  • Twoje zgłoszenie zostanie przeanalizowane, a wszelkie niezbędne zmiany zostaną wprowadzone w zaktualizowanej Instrukcji obsługi online. 
  • Prosimy nie przesyłać informacji na temat pojazdu. Aby przesłać informacje na temat pojazdu, prosimy kliknąć łącze, aby wyświetlić dane kontaktowe dla wybranego rynku.
Wyświetl dane kontaktowe

Wyślij

Twój wkład jest cenny w ulepszaniu naszej Instrukcji obsługi. Dziękujemy za poświęcenie czasu na wyrażenie swojej opinii.

OK

Contact Information

North America

CountryPhoneEmail
United States1-800-392-3673 (FORD)
Canada1-800-565-3673 (FORD)
Mexico1-800-719-8466
Guam1-800-392-3673 (FORD)
North Mariana Islandsapemcrc@ford.com
Puerto Rico(800) 841-3673prcac@ford.com
US Virgin Islands(800) 841-3673prcac@ford.com

IMG

CountryPhoneEmail
Algerianafcrc@ford.com
Angolassacrc@ford.com
Beninssacrc@ford.com
Botswanassacrc@ford.com
Burkina FASOssacrc@ford.com
Burundissacrc@ford.com
Cameroonssacrc@ford.com
Cape Verdessacrc@ford.com
Central African Republicssacrc@ford.com
Chadssacrc@ford.com
Comorosssacrc@ford.com
Dem Republic of Congossacrc@ford.com
Djibutissacrc@ford.com
Egyptnafcrc@ford.com
Equitorial Guineassacrc@ford.com
Eritreassacrc@ford.com
Ethiopiassacrc@ford.com
Gabonssacrc@ford.com
Gambiassacrc@ford.com
Ghanassacrc@ford.com
Guineassacrc@ford.com
Guinea-Bissaussacrc@ford.com
Ivory Coastssacrc@ford.com
Kenyassacrc@ford.com
Liberiassacrc@ford.com
Libyanafcrc@ford.com
Madagascarssacrc@ford.com
Malawissacrc@ford.com
Mauritaniassacrc@ford.com
Mauritiusssacrc@ford.com
Morocconafcrc@ford.com
Mozambiquessacrc@ford.com
Namibiassacrc@ford.com
Nigerssacrc@ford.com
Nigeriassacrc@ford.com
Republic of Congossacrc@ford.com
Rwandassacrc@ford.com
Sao Tome and Principessacrc@ford.com
Senegalssacrc@ford.com
Sychellesssacrc@ford.com
Sierra Leonessacrc@ford.com
South Africa860011022fordcrc2@ford.com
South Sudanssacrc@ford.com
Swazilandssacrc@ford.com
Tanzaniassacrc@ford.com
Togossacrc@ford.com
Tunisianafcrc@ford.com
Ugandassacrc@ford.com
Zambiassacrc@ford.com
Zimbabwessacrc@ford.com
American Somoaapemcrc@ford.com
Australia(13 FORD) 13 3673foacust1@ford.com
Bangladeshapemcrc@ford.com
Bhutanapemcrc@ford.com
Bruneiapemcrc@ford.com
Cambodiaapemcrc@ford.com
Fijiapemcrc@ford.com
French Polynesiaapemcrc@ford.com
Indiaapemcrc@ford.com
Indonesiaapemcrc@ford.com
Japanapemcrc@ford.com
Laosapemcrc@ford.com
Macaoapemcrc@ford.com
Malaysiaapemcrc@ford.com
Marshall Islandsapemcrc@ford.com
Mongoliaapemcrc@ford.com
Myanmarapemcrc@ford.com
Nepalapemcrc@ford.com
New Caledoniaapemcrc@ford.com
New Zealand0800 367 369 (FORDNZ)fnzcust@ford.com
Pakistanapemcrc@ford.com
Palauapemcrc@ford.com
Papua New Guineaapemcrc@ford.com
Philippines02-88669408emailus@ford.com
Singaporeapemcrc@ford.com
South Korea82-2-1600-6003infokr1@ford.com
Sri Lankaapemcrc@ford.com
Tahitiapemcrc@ford.com
Thailand1383fordthai@ford.com
Timor Lesteapemcrc@ford.com
Vanuatuapemcrc@ford.com
Vietnam1800588888fordvn@ford.com
Wallis and Futunaapemcrc@ford.com
Western Somoaapemcrc@ford.com
Afghanistanmenacac@ford.com
Bahrainmenacac@ford.com
Iraqmenacac@ford.com
Israel08-9139995service1@kelekmotors.co.il
Jordanmenacac@ford.com
Kuwait965 1 898900menacac@ford.com
Lebanonmenacac@ford.com
Omanmenacac@ford.com
Qatarmenacac@ford.com
Saudi Arabia8008443673menacac@ford.com
Syriamenacac@ford.com
United Arab Emirates80004441066menacac@ford.com
Yemenmenacac@ford.com

Greater China

CountryPhoneEmail
China-Imported Vehicles400-690-1886
China-CAF951995
China-JMC400-003-1111
China-Lincoln400-988-6789
Taiwan0800-032100
Hong Kong(852) 3768-4898

South America

CountryPhoneEmail
Argentina0800-888-3673
BoliviaContact Your Local Ford Distributor
Brazil0800-703-3673central@ford.com
ChileContact Your Local Ford Distributor
ColombiaContact Your Local Ford Distributor
EcuadorContact Your Local Ford Distributor
French GuianaContact Your Local Ford Distributor
GuyanaContact Your Local Ford Distributor
ParaguayContact Your Local Ford Distributor
PeruContact Your Local Ford Distributor
SurinameContact Your Local Ford Distributor
UruguayContact Your Local Ford Distributor
VenezuelaContact Your Local Ford Distributor

Europe

CountryPhoneEmail
AlbaniaContact Your Local Ford Distributor
AndorraContact Your Local Ford Distributor
ArmeniaContact Your Local Ford Distributor
Austria01 20 609 2424kundenz@ford.com
AzerbaijanContact Your Local Ford Distributor
BelarusContact Your Local Ford Distributor
Belgium32 2 700 67 76custfobe@ford.com
BosniaContact Your Local Ford Distributor
BulgariaContact Your Local Ford Distributor
CroatiaContact Your Local Ford Distributor
CyprusContact Your Local Ford Distributor
Czech Republic800 3673 29zakaznik@ford.com
Denmark43 68 2000crcdk@ford.com
Estonia372 6710 060ford@infoauto.ee
Falkland IslandsContact Your Local Ford Distributor
Finland09 725 22022palvelut@ford.com
France0800 005 005 crcfr@ford.com
GeorgiaContact Your Local Ford Distributor
Germany0221 9999 2 999kunden@ford.com
GirbraltarContact Your Local Ford Distributor
Greece216 900 88 99 info11@ford.com
Hungary+36 1 7777 555Contact Your Local Ford Distributor
IcelandContact Your Local Ford Distributor
Ireland1800 771 199crcirela@ford.com
Italy800 22 44 33tu@ford.com
KazakhstanContact Your Local Ford Distributor
Latvia+371 67303020
LiechtensteinContact Your Local Ford Distributor
Lithuania370 5216 8226forduzklausos@inchcape.lt
Luxembourg+352 248 71 800custfobe@ford.com
MacedoniaContact Your Local Ford Distributor
MaltaContact Your Local Ford Distributor
MoldovaContact Your Local Ford Distributor
MonacoContact Your Local Ford Distributor
MontenegroContact Your Local Ford Distributor
Netherlands70 7703 777 klanten@ford.com
Norway47 66819739infonor@ford.com
Poland48 22 522 27 27kontakty@ford.com
Portugal800 210 373clientes@ford.com
Romania40 312298798crcro@ford.com
RussiaContact Your Local Ford Distributor
San MarinoContact Your Local Ford Distributor
SerbiaContact Your Local Ford Distributor
Serbia and MontenegroContact Your Local Ford Distributor
SlovakiaContact Your Local Ford Distributor
SloveniaContact Your Local Ford Distributor
South GeorgiaContact Your Local Ford Distributor
Spain900 80 70 90crcspain@ford.com
Sweden08-593 66 333fordkund@ford.com
Switzerland044 511 14 45assistch@ford.com
TurkeyContact Your Local Ford Distributor
UkraineContact Your Local Ford Distributor
United Kingdom020 3564 4444UKCRC1@ford.com

Caribbean and Central America

CountryPhoneEmail
Anguilla(313) 594-4857expcac@ford.com
Antigua(313) 594-4857expcac@ford.com
Aruba(313) 594-4857expcac@ford.com
Bahamas(313) 594-4857expcac@ford.com
Barbados(313) 594-4857expcac@ford.com
Bermuda(313) 594-4857expcac@ford.com
Bonaire and St. Eustatius(313) 594-4857expcac@ford.com
Cayman Islands(313) 594-4857expcac@ford.com
Curacao(313) 594-4857expcac@ford.com
Dominica(313) 594-4857expcac@ford.com
Dominican Republic(313) 594-4857expcac@ford.com
Grenada(313) 594-4857expcac@ford.com
Haiti(313) 594-4857expcac@ford.com
Jamaica(313) 594-4857expcac@ford.com
Martinique(313) 594-4857expcac@ford.com
Montserrat(313) 594-4857expcac@ford.com
St. Kitts and Nevis(313) 594-4857expcac@ford.com
St. Lucia(313) 594-4857expcac@ford.com
St. Martin(313) 594-4857expcac@ford.com
St. Vincent and the Grenadines(313) 594-4857expcac@ford.com
Trinidad and Tobago(313) 594-4857expcac@ford.com
Turks and Caicos(313) 594-4857expcac@ford.com
British Virgin Islands(313) 594-4857expcac@ford.com
Netherlands Antilles(313) 594-4857expcac@ford.com
Belize(313) 594-4857expcac@ford.com
Costa Rica(313) 594-4857expcac@ford.com
El Salvador(313) 594-4857expcac@ford.com
Guatemala(313) 594-4857expcac@ford.com
Honduras(313) 594-4857expcac@ford.com
Nicaragua(313) 594-4857expcac@ford.com
Panama(313) 594-4857expcac@ford.com