Propojujte jen baterie se stejným jmenovitým napětím (12 voltů). Používejte startovací kabely s izolovanými kleštěmi a s vyhovujícím průřezem kabelu. Neodpojujte autobaterii od elektrického systému vozidla.
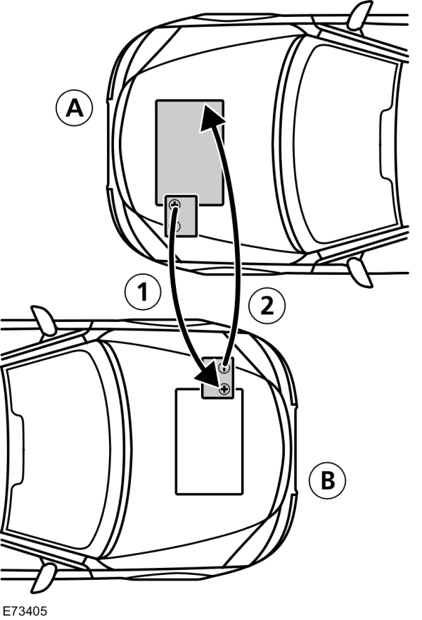
Připojení startovacích kabelů
Image Shown Without Description
AVybitá baterie
BPomocná baterie
  • Postavte vozidla tak, aby se vzájemně nedotýkala.
  • Vypněte motor a všechna elektrická zařízení.
  • Propojte kladný (+) vývod vybité autobaterie A s kladným (+) vývodem pomocné baterie B.
  • Propojte záporný (-) vývod pomocné baterie B s blokem nebo upevněním motoru, který chcete nastartovat, co nejdál od baterie. Nepřipojujte kabel na záporný (–) pól vybité autobaterie.
  • Ujistěte se, že se startovací kabely nedotýkají žádných pohyblivých částí.
Nastartování motoru
  • Nastartujte motor vozidla s pomocnou baterií a nechte jej běžet při středních otáčkách.
  • Nastartujte motor vozidla s vybitou baterií.
  • Nechte běžet obě vozidla nejméně 3 minuty, potom kabely odpojte.
POZOR   POZOR:  Během odpojování kabelů nechte vypnuté světlomety. Napěťová špička by mohla zničit žárovky.

  • Odpojte kabely v opačném pořadí.

Návod k obsluze pro vlastníky

  • Upozorňujeme, že společnost Ford nebude nijak reagovat na individuální zpětnou vazbu.
  • Poskytněte podrobnou zpětnou vazbu týkající se pouze nepřesností v obsahu nebo chybějícího obsahu v návodu k obsluze.
  • Vaše zpětná vazba bude prošetřena a veškeré nezbytné změny budou aktualizovány v online návodu k obsluze. 
  • Nezasílejte prosím žádnou zpětnou vazbu týkající se vozidel. Pokud chcete odeslat zpětnou vazbu týkající se vašeho vozidla, klikněte prosím na odkaz a vyhledejte si správné kontaktní informace pro váš trh.
Zobrazit kontaktní informace

Odeslat

Vaše podněty jsou cenné, jelikož nám pomáhají vylepšovat náš návod k obsluze. Děkujeme vám za poskytnutí zpětné vazby.

OK

Contact Information

North America

CountryPhoneEmail
United States1-800-392-3673 (FORD)
Canada1-800-565-3673 (FORD)
Mexico1-800-719-8466
Guam1-800-392-3673 (FORD)
North Mariana Islandsapemcrc@ford.com
Puerto Rico(800) 841-3673prcac@ford.com
US Virgin Islands(800) 841-3673prcac@ford.com

IMG

CountryPhoneEmail
Algerianafcrc@ford.com
Angolassacrc@ford.com
Beninssacrc@ford.com
Botswanassacrc@ford.com
Burkina FASOssacrc@ford.com
Burundissacrc@ford.com
Cameroonssacrc@ford.com
Cape Verdessacrc@ford.com
Central African Republicssacrc@ford.com
Chadssacrc@ford.com
Comorosssacrc@ford.com
Dem Republic of Congossacrc@ford.com
Djibutissacrc@ford.com
Egyptnafcrc@ford.com
Equitorial Guineassacrc@ford.com
Eritreassacrc@ford.com
Ethiopiassacrc@ford.com
Gabonssacrc@ford.com
Gambiassacrc@ford.com
Ghanassacrc@ford.com
Guineassacrc@ford.com
Guinea-Bissaussacrc@ford.com
Ivory Coastssacrc@ford.com
Kenyassacrc@ford.com
Liberiassacrc@ford.com
Libyanafcrc@ford.com
Madagascarssacrc@ford.com
Malawissacrc@ford.com
Mauritaniassacrc@ford.com
Mauritiusssacrc@ford.com
Morocconafcrc@ford.com
Mozambiquessacrc@ford.com
Namibiassacrc@ford.com
Nigerssacrc@ford.com
Nigeriassacrc@ford.com
Republic of Congossacrc@ford.com
Rwandassacrc@ford.com
Sao Tome and Principessacrc@ford.com
Senegalssacrc@ford.com
Sychellesssacrc@ford.com
Sierra Leonessacrc@ford.com
South Africa860011022fordcrc2@ford.com
South Sudanssacrc@ford.com
Swazilandssacrc@ford.com
Tanzaniassacrc@ford.com
Togossacrc@ford.com
Tunisianafcrc@ford.com
Ugandassacrc@ford.com
Zambiassacrc@ford.com
Zimbabwessacrc@ford.com
American Somoaapemcrc@ford.com
Australia(13 FORD) 13 3673foacust1@ford.com
Bangladeshapemcrc@ford.com
Bhutanapemcrc@ford.com
Bruneiapemcrc@ford.com
Cambodiaapemcrc@ford.com
Fijiapemcrc@ford.com
French Polynesiaapemcrc@ford.com
Indiaapemcrc@ford.com
Indonesiaapemcrc@ford.com
Japanapemcrc@ford.com
Laosapemcrc@ford.com
Macaoapemcrc@ford.com
Malaysiaapemcrc@ford.com
Marshall Islandsapemcrc@ford.com
Mongoliaapemcrc@ford.com
Myanmarapemcrc@ford.com
Nepalapemcrc@ford.com
New Caledoniaapemcrc@ford.com
New Zealand0800 367 369 (FORDNZ)fnzcust@ford.com
Pakistanapemcrc@ford.com
Palauapemcrc@ford.com
Papua New Guineaapemcrc@ford.com
Philippines02-88669408emailus@ford.com
Singaporeapemcrc@ford.com
South Korea82-2-1600-6003infokr1@ford.com
Sri Lankaapemcrc@ford.com
Tahitiapemcrc@ford.com
Thailand1383fordthai@ford.com
Timor Lesteapemcrc@ford.com
Vanuatuapemcrc@ford.com
Vietnam1800588888fordvn@ford.com
Wallis and Futunaapemcrc@ford.com
Western Somoaapemcrc@ford.com
Afghanistanmenacac@ford.com
Bahrainmenacac@ford.com
Iraqmenacac@ford.com
Israel08-9139995service1@kelekmotors.co.il
Jordanmenacac@ford.com
Kuwait965 1 898900menacac@ford.com
Lebanonmenacac@ford.com
Omanmenacac@ford.com
Qatarmenacac@ford.com
Saudi Arabia8008443673menacac@ford.com
Syriamenacac@ford.com
United Arab Emirates80004441066menacac@ford.com
Yemenmenacac@ford.com

Greater China

CountryPhoneEmail
China-Imported Vehicles400-690-1886
China-CAF951995
China-JMC400-003-1111
China-Lincoln400-988-6789
Taiwan0800-032100
Hong Kong(852) 3768-4898

South America

CountryPhoneEmail
Argentina0800-888-3673
BoliviaContact Your Local Ford Distributor
Brazil0800-703-3673central@ford.com
ChileContact Your Local Ford Distributor
ColombiaContact Your Local Ford Distributor
EcuadorContact Your Local Ford Distributor
French GuianaContact Your Local Ford Distributor
GuyanaContact Your Local Ford Distributor
ParaguayContact Your Local Ford Distributor
PeruContact Your Local Ford Distributor
SurinameContact Your Local Ford Distributor
UruguayContact Your Local Ford Distributor
VenezuelaContact Your Local Ford Distributor

Europe

CountryPhoneEmail
AlbaniaContact Your Local Ford Distributor
AndorraContact Your Local Ford Distributor
ArmeniaContact Your Local Ford Distributor
Austria01 20 609 2424kundenz@ford.com
AzerbaijanContact Your Local Ford Distributor
BelarusContact Your Local Ford Distributor
Belgium32 2 700 67 76custfobe@ford.com
BosniaContact Your Local Ford Distributor
BulgariaContact Your Local Ford Distributor
CroatiaContact Your Local Ford Distributor
CyprusContact Your Local Ford Distributor
Czech Republic800 3673 29zakaznik@ford.com
Denmark43 68 2000crcdk@ford.com
Estonia372 6710 060ford@infoauto.ee
Falkland IslandsContact Your Local Ford Distributor
Finland09 725 22022palvelut@ford.com
France0800 005 005 crcfr@ford.com
GeorgiaContact Your Local Ford Distributor
Germany0221 9999 2 999kunden@ford.com
GirbraltarContact Your Local Ford Distributor
Greece216 900 88 99 info11@ford.com
Hungary+36 1 7777 555Contact Your Local Ford Distributor
IcelandContact Your Local Ford Distributor
Ireland1800 771 199crcirela@ford.com
Italy800 22 44 33tu@ford.com
KazakhstanContact Your Local Ford Distributor
Latvia+371 67303020
LiechtensteinContact Your Local Ford Distributor
Lithuania370 5216 8226forduzklausos@inchcape.lt
Luxembourg+352 248 71 800custfobe@ford.com
MacedoniaContact Your Local Ford Distributor
MaltaContact Your Local Ford Distributor
MoldovaContact Your Local Ford Distributor
MonacoContact Your Local Ford Distributor
MontenegroContact Your Local Ford Distributor
Netherlands70 7703 777 klanten@ford.com
Norway47 66819739infonor@ford.com
Poland48 22 522 27 27kontakty@ford.com
Portugal800 210 373clientes@ford.com
Romania40 312298798crcro@ford.com
RussiaContact Your Local Ford Distributor
San MarinoContact Your Local Ford Distributor
SerbiaContact Your Local Ford Distributor
Serbia and MontenegroContact Your Local Ford Distributor
SlovakiaContact Your Local Ford Distributor
SloveniaContact Your Local Ford Distributor
South GeorgiaContact Your Local Ford Distributor
Spain900 80 70 90crcspain@ford.com
Sweden08-593 66 333fordkund@ford.com
Switzerland044 511 14 45assistch@ford.com
TurkeyContact Your Local Ford Distributor
UkraineContact Your Local Ford Distributor
United Kingdom020 3564 4444UKCRC1@ford.com

Caribbean and Central America

CountryPhoneEmail
Anguilla(313) 594-4857expcac@ford.com
Antigua(313) 594-4857expcac@ford.com
Aruba(313) 594-4857expcac@ford.com
Bahamas(313) 594-4857expcac@ford.com
Barbados(313) 594-4857expcac@ford.com
Bermuda(313) 594-4857expcac@ford.com
Bonaire and St. Eustatius(313) 594-4857expcac@ford.com
Cayman Islands(313) 594-4857expcac@ford.com
Curacao(313) 594-4857expcac@ford.com
Dominica(313) 594-4857expcac@ford.com
Dominican Republic(313) 594-4857expcac@ford.com
Grenada(313) 594-4857expcac@ford.com
Haiti(313) 594-4857expcac@ford.com
Jamaica(313) 594-4857expcac@ford.com
Martinique(313) 594-4857expcac@ford.com
Montserrat(313) 594-4857expcac@ford.com
St. Kitts and Nevis(313) 594-4857expcac@ford.com
St. Lucia(313) 594-4857expcac@ford.com
St. Martin(313) 594-4857expcac@ford.com
St. Vincent and the Grenadines(313) 594-4857expcac@ford.com
Trinidad and Tobago(313) 594-4857expcac@ford.com
Turks and Caicos(313) 594-4857expcac@ford.com
British Virgin Islands(313) 594-4857expcac@ford.com
Netherlands Antilles(313) 594-4857expcac@ford.com
Belize(313) 594-4857expcac@ford.com
Costa Rica(313) 594-4857expcac@ford.com
El Salvador(313) 594-4857expcac@ford.com
Guatemala(313) 594-4857expcac@ford.com
Honduras(313) 594-4857expcac@ford.com
Nicaragua(313) 594-4857expcac@ford.com
Panama(313) 594-4857expcac@ford.com